- Úvod
- >>
- Lodné motory
- >>
- Príslušenstvo
- >>
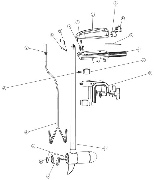
- Náhradné diely k motoru Rhino Cobold
Náhradné diely k motoru Rhino Cobold
- Výrobca:
- RHINO
s DPH
Príslušenstvo
51,59 € s DPH 1 255,35 Kč s DPH
Čelovky
20,79 € s DPH 505,85 Kč s DPH
Čižmy
35,53 €
31,75 € s DPH
864,62 Kč
772,55 Kč s DPH
1+1 zdarma
50,96 € s DPH 1 240,08 Kč s DPH
Lampy
15,34 € s DPH 373,25 Kč s DPH
Ponožky
17,10 € s DPH 416,06 Kč s DPH
6,13 € s DPH 149,06 Kč s DPH
11,68 €
8,61 € s DPH
284,23 Kč
209,52 Kč s DPH
Krabice
15,38 € s DPH 374,15 Kč s DPH
Kempingové
36,90 € s DPH 897,96 Kč s DPH
| číslo | kód | popis |
| 1 | 44 9921101 | klip kábla batérie |
| 2 | 44 9921102 | skrutka |
| 3 | 44 9921103 | istiaca matica |
| 4 | 44 9921104 | pružina |
| 5 | 44 9921105 | skrutky 4ks |
| 6 | 44 9921106 | horný kryt |
| 7 | 44 9921107 | spínač |
| 8 | 44 9921108 | spínač |
| 9 | 44 9921109 | kabeláž |
| 10 | 44 9921110 | spodný kryt |
| 11 | 44 9921111 | hĺbková objímka |
| 12 | 44 9921112 | upevňovacia konzola |
| 13 | 44 9921113 | motorová časť |
| 14 | 44 9921114 | vrtuľa |
| 15 | 44 9921115 | matica vrtule |
| 16 | 44 9925614 | aretačný kolík |
| 17 | 44 9921117 | napájací kábel |
| 18 | 44 9921118 | Screw |
| 19 | 44 9921119 | uhlíky 2pcs |
Recenzie Náhradné diely k motoru Rhino Cobold
1 recenzií užívateľov
1x
0x
0x
0x
0x
-
4.8.2019
Zákazník neuviedol žiadne slovné hodnotenie.











